
A Apple entrou com uma patente nos Estados Unidos de um fone de ouvido que pode ser usado como caixas de som do próprio tocador digital ou do PC.
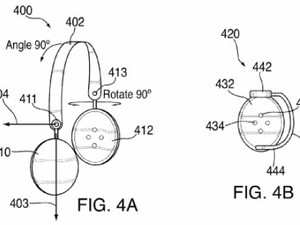
Nas informações da patente, o fone de ouvido pode ser modificado ao girar suas partes para mudar de formato e ser colocado em uma superfície plana.
Ainda segundo as informações contidas na patente, sensores nos fones conseguem identificar se eles estão sendo usados pelo usuário ou estão no formato de caixa de som e, dependendo da distância entre eles, o volume seria ajustado automaticamente.
No formato de alto falante, o fone de ouvido teria um volume bem mais alto do que quando usado individualmente. Os sensores impediriam que o som fosse elevado demais neste caso, prejudicando a audição do usuário.




















































0 comentários:
Postar um comentário